Одношпиндельный токарный автомат продольного точения с ЧПУ
Токарный станок данного типа предназначен для обработки прутков малого диаметра и оборудован функцией выполнения нескольких процессов обработки за одну установку, включая токарную обработку, развертку, сверление и другие комбинированные операции. Широко используется для массового производства часов, автомобильных компонентов, электроники, офисного оборудования, медицинских приборов и бытовой техники.
Помимо указанных функций наш токарный станок продольного точения подходит для обработки цилиндрических и конусообразных деталей, сферических поверхностей, контуров, профилирования и обрезки. С помощью дополнительных насадок автомат также может выполнять сверление, фрезерование и другие вспомогательные операции на легированной стали, цветных металлах и неметаллических деталях диаметром до 7 мм.
Токарный станок данного типа сохраняет все характеристики традиционных кулачковых автоматов: стабильная производительность за счет двухинструментальной обработки и высокой точности механической обработки.
Высокожесткий инструментальный суппорт и симметричная конструкция шпинделя обеспечивают стабильную точность обработки.
Станок хорошо подходит для обработки длинных, тонких многоступенчатых валов, требующих надёжного контроля размеров.








- Двухосевое сверлильное приспособление: для задач по сверлению, рассверливанию, зенкерованию и нарезанию резьбы
- Трехосевое сверлильно-расточное приспособление: поддерживает сверление, рассверливание, растачивание и нарезание резьбы, а также может обрабатывать конические отверстия
- Направляющая: используется для длинных, тонких валов (например, деталей длиной более 200 мм) для предотвращения изгиба во время токарной обработки
- Зажимное приспособление для деталей: удерживает готовую деталь и помещает ее в приемный лоток, что особенно важно для очень мелких компонентов (диаметр ≤ 1 мм)
| Модель | | | | ||
| Макс. диаметр обрабатываемого прутка, мм | Ø4 | Ø7 | Ø10 | ||
| Макс. длина точения, мм | 50 | 66 | |||
| Макс. частота вращения шпинделя, об/мин | 9000 | ||||
| Макс. диаметр сверления | Ø4 мм (медь), Ø3 мм (сталь) | ||||
| Мощность шпинделя, кВт | 1 | ||||
| Система ЧПУ | Специализированная система ЧПУ | ||||
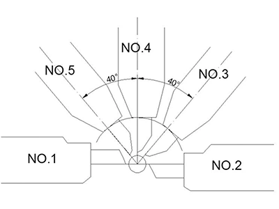
| Конфигурация инструмента | Балансирные резцы ×2 (№1, №2) | ||||
| Вертикальные резцы ×3 (№3, №4, №5) | |||||
| Держатели торцевого сверления ×2 (в зависимости от выбранных приспособлений) | |||||
| Макс. скорость подачи суппорта инструмента, м/мин | 16 | ||||
| Скорость быстрого перемещения по оси Z, м/мин | 15 | ||||
| Повторяемость, мм | 0.007 | ||||
| Мощность двигателя балансирного инструментального суппорта, Вт | 1200 | ||||
| Мощность двигателя вертикального инструментального суппорта, Вт | 400 | 1000 | |||
| Мощность двигателя задней бабки, Вт | 400 | ||||
| Масса станка, кг | ≤660 | ||||
| Общая установленная мощность, кВА | 5 | ||||
| Габариты станка (Д×Ш×В), мм | 1280×1256×1600 | 1555×1256×1600 | |||




